磁気速度センサー

正確なゼロ速度検知を実現する小型2線式ギア トゥース センサIC

ATS682

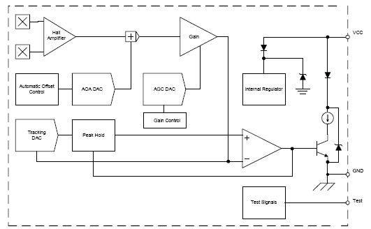
ATS682は、正確なゼロ速度検知、小型2線式インターフェース、統合信号処理機能により、正確で信頼性の高いギア トゥース センシングを提供し、自動車用途で堅牢な動作を実現します。

Product Details

Top Features

  • 真のゼロ速度運転
  • エア ギャップの影響を受けないスイッチポイントの自動ゲイン制御 (AGC)
  • 信号処理を最適化する自動オフセット調整 (AOA)
  • 実行モード較正によって連続的に最適化
  • 動作温度範囲全体で正確なデューティ サイクル
  • 2 線式操作用の内部電流レギュレータ
  • 低電圧ロックアウト
  • 多数の複雑な負荷インピーダンスが存在する状況で、広範な動作電圧範囲と安定性を持つオンチップ電圧レギュレータ
  • 信頼性を高めるシングル チップ IC
Target Application

Part Number Specifications and Availability

設計ツール

Technical Documentation