磁性速度传感器

微型双线式齿轮齿传感器芯片,支持真正零速运行

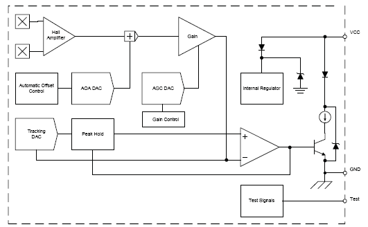
ATS682

ATS682 提供准确可靠的齿轮齿感测,具备真正零速性能、微型双线接口,并集成信号处理电路,确保汽车应用中的可靠操作。

Product Details

Top Features

  • 真零速操作
  • 用于气隙独立开关点的自动增益控制 (AGC)
  • 用于信号处理优化的自动偏置调整 (AOA)
  • 用于连续优化的运行模式校准
  • 在工作温度范围内准确的工作循环
  • 可双线式操作的内部电流稳压器
  • 欠压锁定
  • 在各种复杂的负荷阻抗的情况下具有较宽的工作电压范围和稳定性的芯片稳压器
  • 可实现高可靠性的单芯片 IC
Target Application

Part Number Specifications and Availability

设计工具

Technical Documentation