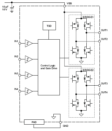
A3901 采用双全桥设计,可高效驱动两台直流电机或单台步进电机。通过优化设计实现低压降和低功耗,支持高达 ±800mA 的输出电流(并联模式),并提供灵活的控制模式(正向/反向/制动)。
Product Details
Product Details
Top Features
- 低 RDS(on) 输出
- 全步进与半步进能力
- 小型封装
- 用于直流电动机的正转、反转和制动模式
- 零耗电的睡眠模式
- 最大达 250 千赫的 PWM 控制
- 交叉电流保护
- 过热关机功能 (TSD)
Have Questions? Let us help!
We're passionate about innovation. Reach out and you'll hear back from an expert shortly.
One of our solution experts will be in touch with you shortly. Keep reading to learn more about our industry leading solutions.
A3901 采用双全桥设计,可高效驱动两台直流电机或单台步进电机。通过优化设计实现低压降和低功耗,支持高达 ±800mA 的输出电流(并联模式),并提供灵活的控制模式(正向/反向/制动)。