Allegro 電流センサー

自動車用途向け200µΩ導体搭載の高精度電流センサIC

ACS72981

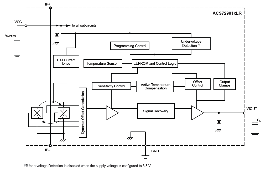
ACS72981は、自動車用途向けに高精度かつ高効率の電流検出機能を提供します。250kHzの帯域幅、高速な応答時間 (2µs未満)、低抵抗 (200µΩ) の導体により、電力損失を最小限に抑えます。

Product Details

Top Features

  • 広帯域幅、250 kHz アナログ出力
  • 2 μ 秒未満の出力応答時間
  • 3.3~5.0 V 電源で動作
  • 超低電力損失:200 μΩ の内部導体抵抗
  • 業界トップクラスのノイズ耐性がさらに向上
  • デジタル プログラミングとゲイン補償および完全な動作温度範囲全体でのオフセットによって総出力誤差を大幅に改善
  • 実装の容易な小型パッケージ
  • モノリシック ホール IC で高い信頼性を実現
  • AC または DC 電流に比例する出力電圧
  • 工場出荷時の調整で高精度を実現
  • 温度変化や使用期間を通じて極めて安定したゼロ アンプ出力オフセット電圧

Part Number Specifications and Availability